
Falownik AFC200-0,37kW 1x230V AC 0,37/0,55 kW Twerd

Falownik AFC200-0,55kW 1x230V AC 0,55/0,75 kW Twerd

Falownik AFC200-0,75kW 1x230V AC 0,75/1,1 kW Twerd

Falownik AFC200-1,1kW 1x230V AC 1,1-1,5 kW Twerd

Falownik AFC200-1,5kW 1x230V AC 1,5/2,2 kW Twerd

Falownik AFC200-2,2kW 1x230V AC 2,2-3 kW Twerd

Falownik AFC200-3kW 1x230V AC 3 kW Twerd

Falownik MFC710/0,37kW 3x400V AC 0,37/0,55 kW Twerd

Falownik MFC710/37kW 3x400V AC 37/45 kW Twerd

Falownik MFC710/0,55kW 3x400V AC 0,55/0,75 kW Twerd

Falownik MFC710/0,75kW 3x400V AC 0,75/1,1 kW Twerd

Falownik MFC710/1,1kW 3x400V AC 1,1/1,5 kW Twerd

Falownik MFC710/1,5kW 3x400V AC 1,5/2,2 kW Twerd

Falownik MFC710/2,2kW 3x400V AC 2,2/3 kW Twerd

Falownik MFC710/3kW 3x400V AC 3 kW Twerd
Falowniki Twerd to ekonomiczne rozwiązania dla przemysłu. Przetworniki te charakteryzują się niezawodnością oraz przystępną ceną. W ofercie firmy znajdują się wektorowe falowniki zarówno o zasilaniu 1-fazowym, jak i 3-fazowe falowniki. Twerd oferuje falowniki o szerokim zakresie mocy od 0,37 kWdo 800 kW. Oferowane falowniki występują w wersji z zabudowanym tranzystorem hamowania umożliwiającym podłączenie rezystora hamowania. W standardzie przemienniki częstotliwości Twerd posiadają komunikację Modbus po RS485. Dodatkowo producent wyposażył jednostki w wyświetlacz LED z przyciskami funkcyjnymi, z jego poziomu jest możliwa konfiguracja urządzenia. Ponadto przetworniki Twerd dysponują wbudowanym sterownikiem PLC, regulatorem PID czy filtrem RFI. Kolejnym atutem tych falowników jest możliwość bezpośredniego podłączenia enkodera. Przemienniki częstotliwości z tej rodziny dysponują funkcją identyfikacji parametrów silnika oraz funkcją sterowania zespołem wentylatorów/pomp.
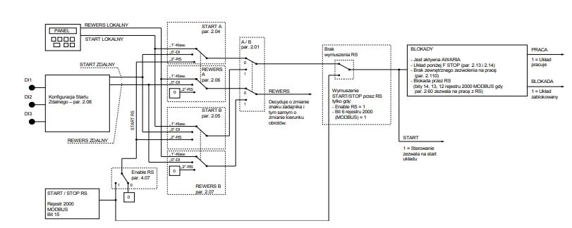
Przykładowy schemat połączeń falownika Twerd

Przykład sterowania start/stop w falownikach Twerd
